【水聲功率放大器應用】淺談潛艇綜合聲吶系統
潛艇綜合聲納系統是指在潛艇上,由多部聲納和水聲測量設備組成的、具有綜合化功能的水聲探測系統。現代潛艇綜合聲納系統通常由被動測距基陣、艇首陣、偵察水聽器陣、通信陣、勺側線列陣、拖曳線列陣、本艇噪聲監測水聽器、通用信號處理機、通用多功能顯控臺等組成。有的系統還包括一部拖曳式線列陣聲納。
潛艇綜合聲納系統通常具有以下功能:對目標進行搜索、跟蹤、測向、測距和識別;對聲納沖源實施偵察、定位和波形參數測定;主動發射脈沖對目標進行定位;完成潛艇之間以及潛艇與水面艦艇之間的通信、測距,測量聲速隨深度的變化,提供現場海洋條件下聲能傳播的直觀圖像,為指揮員和聲納操作員選擇最佳戰術機動和聲納使用方式提供依據綜合處理和顯示各種聲納的信息,將有關數據輸入指揮與控制系統。
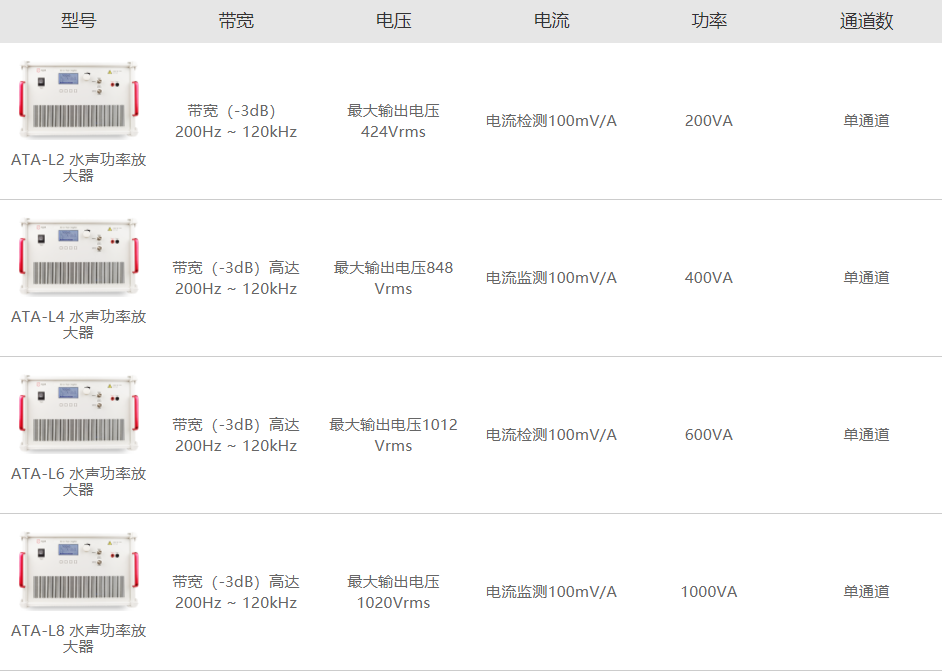
潛艇之間以及潛艇與睡眠艦艇之間的通信,通常通過聲波的發射與接收完成。在這過程中,水聲功率放大器在發射端將通信信號驅動放大,驅動發射換能器,經過遠距離傳輸,接收換能器接收到信號,經過編碼的解譯等,完成信息的的傳遞過程。ATA-L系列水聲功率放大器是一款寬頻帶能輸出較大功率的單通道放大器,最大輸出電壓1020Vrms,最大輸出功率1000VA,滿足不同客戶的需求。現已被廣泛應用在水下通信,聲納系統測距等多個領域,助力科研實驗取得了成功。
ATA-L系列水聲功率放大器參數指標:

本文素材由安泰電子整理發布,通過以上了解,相信大家對潛艇聲納系統已經有所了解,如果您想要了解更多關于水聲功率放大器的應用,請持續關注m.qq1e.cn。
原文鏈接:http://m.qq1e.cn/news/685.html上一篇:
【功率放大器應用】超聲換能器靜態匹配系統
下一篇:
功率放大器在超聲霧化中的應用


























